从曾经的冬季刚需,到如今的智能健康终端,中国电暖毯实现了华丽的转身与升级。以前的电暖毯仅仅作为抵御严寒的工具,功能单一。而现在的中国电暖毯,早已完成华丽升级——手机APP远程温控、AI 适配睡眠曲线、自带除螨模式、低电磁核辐射,融入了众多智能与健康元素。
中国电暖毯的这一转变,不仅满足了消费者日益多样化的需求,也提升了产品在国际市场上的竞争力,为其出口增长奠定了坚实的基础。
2022年全球电热毯市场规模达到28.7亿美元,预计2023-2030年将以5.8%的复合年增长率持续扩张。到2030年全球市场规模将突破45亿美元,其中智能电热毯细分领域占比有望达到35%。
根据海关数据显示,2025年1-9月,中国电暖毯(HS:63011000)出口额约为3.54亿美元,较上年同期增加1844万美元,同比增长5.49%。

按出口国家和地区统计,2025年1-9月我国电暖毯最大出口国家和地区为美国,出口金额为1.88亿美元,其次是英国和日本,出口金额分别为3452万美元、1866万亿美元。

具体分金额来看,美国是唯一出口额大于1亿美元的市场,也是电暖毯无可争议的第一大出口市场;1000万-3000万美元的市场6个,主要是英国、日本、澳大利亚、德国、加拿大、荷兰,总占比30.2%,这些市场具有需求稳定、购买力强的特点,是分散市场风险、优化出口结构的关键区域;出口额小于1000万美元的市场超过120个国家和地区,这一梯队市场虽当前份额不大,但显示出一定的增长潜力,特别是在产业转移或区域贸易协定推动下,可能成为未来的增长点。
其中,2025年1-9月对越南出口增长249.6%,随着越南经济的发展和居民生活水平的提高,消费者对电热毯等取暖产品的接受度和购买力提升,为中国的电热毯出口提供了市场空间;越南企业或消费者在采购取暖设备时,倾向于选择性价比高的中国产品,这使得中国电热毯在越南市场中占据了一定份额;跨境电商渠道爆发,是的电暖毯市场触达效率升级;在政策利好等多重因素作用下共同推动了2025年1-9月中国电热毯对越南出口的大幅增长。
具体分国别来看,2025年1-9月,我国电暖毯共出口134个国家和地区,与2024年同期相比增加13个国家和地区。近八成市场出口额同比正增长,前20大出口市场中,出口额同比增幅10%以上的市场12个,出口额同比增幅50%以上的市场4个。
从贸易地区分析来看,北美、欧洲是我国电暖毯的主要出口地,占出口总量的81.46%。在2025年1-9月对出口的主要地区中,出口欧洲8579万美元,同比增长13.96%;出口亚洲3911万美元,同比增长31.75%;出口大洋洲1934万美元,同比增长0.18%;出口拉美563万美元,同比增长44.26%;出口非洲166万美元,同比增长8.1%;出口额下降的洲有:出口北美2.03亿美元,同比下降1.64%。

从主要出口省市来看,2025年1-9月出口额前五的省市依次为浙江、广东、江苏、上海、河北,出口额合计占比达到84.83%,紧随其后的陕西、山东、辽宁、广西、福建,出口额分别为1107万美元、888万美元、833万美元、798万美元、395万美元。

产业链情况
上游:原材料与核心零部件
电暖毯行业产业链上游主要包括发热丝、PET 发热线、玻纤布、阻燃面料、温控器、传感器、电源适配器、熔断器等。
代表企业有:中熔电气、联发纺织、士兰微、欧陆通等。
中游:生产制造
中游是电暖毯产业的核心,呈现出较高的市场集中度。
代表企业有:彩虹、彩阳、小绵羊、琴岛电器等。
下游:终端应用
电暖毯产业链下游终端用户包括家庭用户、商业场所及医疗保健领域,其中家庭用户为核心群体,而商业场所包括酒店、养老院等应用场景。
全球主要消费市场情况
北美市场:规模与增长引擎
美国、加拿大为主要代表骨架,其中美国是电暖毯全球最大单一进口国,长期占据进口榜首,市场规模可观,线上渠道增长迅猛,注重智能、安全与场景多元化。
欧洲市场:需求高度波动
欧洲是电暖毯全球最大的消费区域,其市场需求对冬季气候预期和能源价格极为敏感,消费者对电暖毯有长期使用习惯,市场渗透率高,产品认证(CE)严格。
亚太市场:最大生产区域
亚太市场是电暖毯最大生产和消费区域,中国、日本、韩国、东南亚是主要代表国家,中国是最大的生产与消费国,市场成熟;日韩等市场追求高品质、智能化与便携产品。
新兴市场:潜力培育型
非洲、南美等市场是电暖毯的潜力培育型市场,非洲市场是基础保暖需求的初级市场,南美市场是政策补贴驱动的增量市场。
根据2025年1-9月电暖毯出口情况来看,美国、德国等北美、欧洲国家是中国电暖毯的主要出口目的地。北美中西部和北部冬季寒潮常态化,对补充取暖设备需求提升,尤其是与智能家居系统兼容成为标配;能源危机下,欧洲家庭转向低能耗替代方案,电暖毯作为经济实惠的取暖选择备受青睐。
此外,亚洲、南美洲、中东欧、非洲、中东等地区对电暖毯的需求呈现出快速增长的态势,这为电暖毯企业带来了新的市场机遇。中国电暖毯企业应抓住这一有利时机,不断创新和提升产品质量,加强市场开发和营销力度,以实现企业的可持续发展。
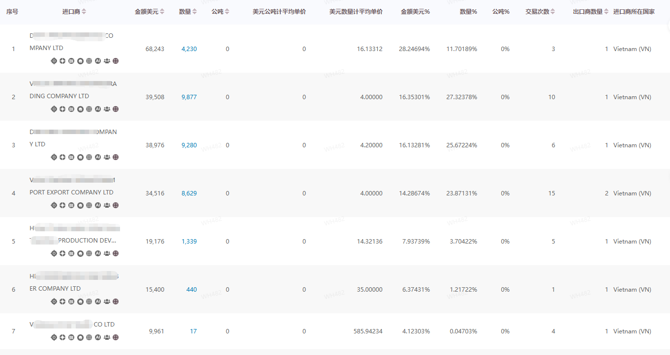
电暖毯企业可重点关注美国、英国、日本、德国、越南、西班牙、智利、乌拉圭、墨西哥、俄罗斯、丹麦、印度、吉尔吉斯斯坦、泰国、斯洛文尼亚等市场。以越南市场为例,通过国贸通大数据人工智能DaaS系统,可以非常直观看到近期越南从中国进口电暖毯的贸易交易。

越南电暖毯采购商
根据交易频次、交易金额找到潜在采购商,除了可以清晰了解到产品信息、港口信息、量价情况、运输方式,数量、金额、重量等详细信息之外,还通过对该越南采购商的企业资信信息进行深入分析,清晰地判断客户是否可靠,从而确保一切尽在掌控之中。


越南企业资信
并对该企业进行追踪分析,对其贸易趋势、背后供应商、同行、进口商RFM等进行分析,全方位了解客户信息。

精准筛选出高潜力客户,找到其联系方式非常重要!通过国贸通大数据外贸搜功能,可一键挖掘采购商的联系方式,如职位、邮箱、电话、LinkedIn、WhatsApp等。

BTD Whatsapp
国贸通公众号
在线咨询
Skype:GlobalTradeData