近年来我国电梯产业迅速发展,已经成为电梯大国,无论从电梯制造的数量上还是电梯保有量上都在世界上处于领先地位。
2025上半年,中国载客电梯出口表现抢眼,出口数量同比增长22.5%。随着全球城市化进程的不断加速,电梯行业将迎来广阔的空间。据预测,全球电梯市场规模将达到3450亿元,年复合增长率为4.4%。
2025年上半年中国载客电梯出口情况:
根据海关数据显示,2025年1-6月,中国载客电梯(HS:84281010)出口额约为10.02亿美元,较上年同期增加1.04亿美元,同比增加11.54%。
按出口国家和地区统计,2025年1-3月我国载客电梯最大出口国家和地区为俄罗斯,出口金额为8151万美元,其次是阿联酋和印度,出口金额分别为7715万美元、5817万美元。
其中,2025年1-6月对阿联酋出口同比增长99.29%,2025年阿联酋进入 "智慧城市" 与 "未来城市" 建设高峰期,多个标志性项目密集启动,为电梯出口提供了广阔的市场空间;中国电梯企业针对中东严苛环境进行技术迭代,并通过本地化布局提升响应速度;同时,阿联酋对政府项目、原材料和工业设备提供海关豁免,为中国载客电梯的出口创造了有利的政策环境。
除此之外,摩洛哥、厄瓜多尔、白俄罗斯、科特迪瓦、意大利、土库曼斯坦、卢旺达、捷克增长率同比均超过100%。
从贸易地区分析来看,亚洲、欧洲是我国载客电梯的主要出口地,占出口总量的76.94%。在2025年1-6月对出口的主要地区中,出口亚洲6.47亿美元,同比增长14.44%;出口欧洲1.24亿美元,同比增长6.42%;出口拉美9433万美元,同比增长9.23%;出口非洲8253万美元,同比增长38.33%;出口额下降的洲有:出口大洋洲4131万美元,同比下降14.74%;出口北美1283万美元,同比下降41.69%。
从主要出口省市来看,2025年1-6月出口额前五的省市依次为江苏、上海、浙江、广东、辽宁,出口额合计占比达到90.82%,紧随其后的天津、山东、陕西、河北、福建,出口额分别为2398万美元、1858万美元、1246万美元、963万美元、711万美元。
载客电梯全球市场分布及特点:
产业链情况
上游:原材料
载客电梯的上游为原材料和核心部件制造,基础原材料有钢材、稀土、有色金属;核心部件包含曳引机、导轨、控制系统、门机系统、安全部件等。代表企业有:宝钢集团、沙钢集团、北方稀土、中国铝业、西子富沃德、宁波欣达、新时达、英威腾、默纳克等。
中游:整梯生产
中游为整梯生产与市场竞争,近年来,国内自主品牌通过自身努力也在不断发展壮大中。代表企业有:通力电梯、奥的斯、迅达电梯、东芝电梯、康力电梯、广日股份、梅轮电梯、森赫电梯等。
下游:安装维保
载客电梯的下游以应用市场为主,如住宅地产、商业地产、基础设施、市政工程、除此之外,旧楼改造市场也是重要应用市场之一。
全球主要消费市场情况
亚太市场:全球最大且增长最快市场
亚太占全球电梯新增装机量的60%以上,其中,中国、印度、东南亚为代表市场,在维保更新、智慧城市等政策红利下推动市场扩张。
欧洲市场:绿色化与智能化引领
以德国、法国为代表的成熟市场,集中于节能改造和数字化服务,绿色节能电梯也将成为未来发展的趋势之一。
北美市场:技术创新与法规驱动
北美市场以高端为主,需求主要集中在新建住宅楼、商业大楼以及公共设施上,北美地区法规严苛。
中东市场:爆发式增长市场
中东地区近年来经济发展迅速,城市化进程加速,对高端电梯产品的需求日益增加。特别是阿联酋 城、沙特等超大型项目推动电梯需求。
载客电梯企业市场开发建议:
根据2025年上半年载客电梯出口情况来看,俄罗斯、亚洲是中国载客电梯的主要出口目的地,伴随“一带一路”的深化及沿线国家建设需求增长,中东、东南亚、非洲基建需求仍将持续。
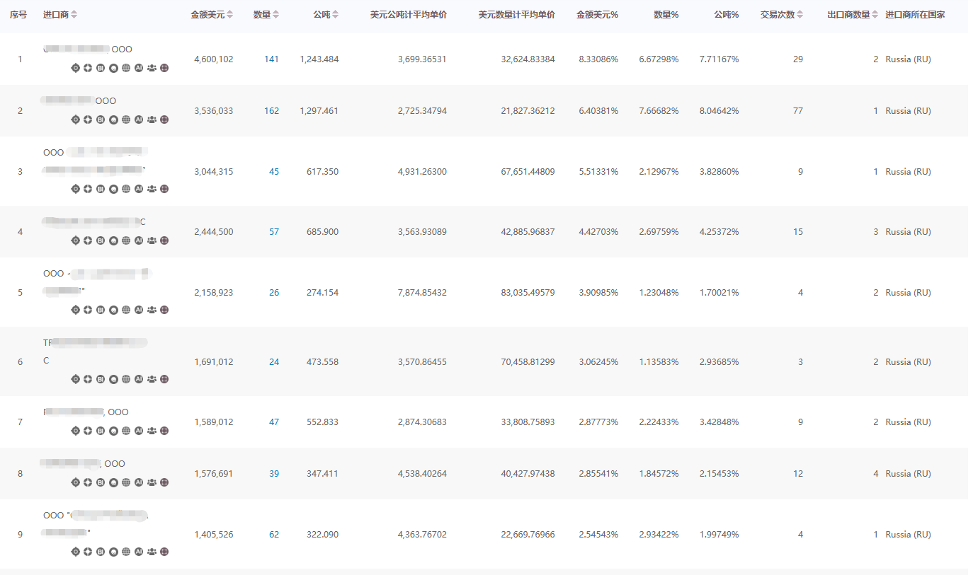
载客电梯企业可重点关注俄罗斯、阿联酋、巴西、伊拉克、尼日利亚、吉尔吉斯斯坦、厄瓜多尔等市场。以俄罗斯市场为例,通过国贸通大数据人工智能DaaS系统,可以非常直观看到近期俄罗斯从中国进口载客电梯的贸易交易。

俄罗斯载客电梯采购商
根据交易频次、交易金额找到潜在采购商,对该采购商的详细信息,如产品信息、港口信息、量价情况、运输方式,数量、金额、重量等,直接分析其采购习惯。


并对该企业进行追踪分析,对其贸易趋势、背后供应商、同行、进口商RFM等进行分析,全方位了解客户信息。
精准筛选出高潜力客户,找到其联系方式非常重要!通过国贸通大数据外贸搜功能,可一键挖掘采购商的联系方式,如职位、邮箱、电话、LinkedIn、WhatsApp等。
电梯出口注意事项:
电梯行业是一个综合性的产业领域,不同国家和地区的法规和标准有不同的要求。
CE认证:
适用欧盟、土耳其、中东、东南亚。
电梯整机(载客电梯、载货电梯、自动扶梯等)和安全部件(限速器、安全钳、缓冲器等)都需认证。认证模式有MODEL B+C2、MODEL E、MODEL H 等多种,整机CE证书一般无有效期,安全部件认证通常选用 MODEL B+C2 方案,证书有效期5年,需每年审厂。发往欧洲部件需要同时提MODEL B+C2证书,东南亚、非洲等国家MODEL B证书即可。
EAC 认证:
针对欧亚经济联盟国家,如俄罗斯、白俄罗斯、哈萨克斯坦、亚美尼亚、吉尔吉斯坦等。
电梯整机及安全部件需认证,通常选用1C方案,证书有效期最长5年,但需每年年审,海关会查验,未及时年审证书会被吊销。
其他认证:
沙特阿拉伯需通过 SABER 系统取得产品符合性证书PCoC和批次证书 SC;阿联酋需提供 EN81-20/50:2020 证书;新加坡强制要求整机符合EN81-20:2020 或 SS550:2020,部件符合 EN81-50:2020 等。
在城市化深化、政策红利释放、技术驱动变革及全球市场拓展的多重机遇下,中国载客电梯行业正处于规模增长与价值提升的黄金期。凭借技术、供应链优势,未来也将在市场占据重要位置。
同时,中国电梯行业也将迎来全球化竞争的关键期,对于载客电梯企业来说,关注载客电梯最新国际贸易数据变化,继续在技术创新、产品升级和服务优化等方面发力,以适应市场变化和客户需求,才能在存量竞争与增量开拓中构建可持续发展新范式。
BTD Whatsapp
国贸通公众号
在线咨询
Skype:GlobalTradeData