谷氨酸钠被称为全球食品工业的“刚需添加剂”,是食品工业不可或缺的基础原料。由于全球多数国家产能不足,对进口产品依赖度极高,市场需求常年保持稳定。其产品主要分为食品级、医药级和饲料级三类。
中国作为全球谷氨酸钠最大的生产国与消费国,在全球谷氨酸钠产业格局中占据着举足轻重的地位。2025至2030年,全球谷氨酸钠行业将迎来结构性变革期,市场规模预计从2025年的98亿美元增长至2030年的142亿美元,年均复合增长率达7.7%,其中亚太地区将贡献超半数的增量市场。
2025年1-12月中国谷氨酸钠出口情况
根据海关数据显示,2025年1-12月,中国谷氨酸钠(HS:29224220)出口额约为8.67亿美元,较上年同期减少6648万美元,同比下降7.12%。

从出口平均价格来看,2025年1-12月中国谷氨酸钠出口平均价格为0.85 USD/KG,同比下降13.69%。
2025年1-12月中国谷氨酸钠出口均价下降,主要原因有国内谷氨酸钠产能扩张,国际市场上,其他国家,如印度、东南亚国家的谷氨酸钠产能逐渐释放,对中国产品形成替代竞争,迫使中国企业降低价格以维持出口份额;部分进口国调整关税政策或贸易壁垒,增加中国谷氨酸钠的进口成本,为维持市场份额,中国企业可能通过降价消化关税成本,导致出口价格下降;除此之外,全球经济增速放缓或区域需求分化,导致谷氨酸钠进口国需求增长乏力,压低了价格。
按出口国家和地区统计,2025年1-12月我国谷氨酸钠最大出口国家和地区为泰国,出口金额为1.01亿美元,其次是尼日利亚和越南,出口金额分别为9307万美元、9081万美元。

具体分金额来看,大于5000万美元的市场6个,分别是泰国、尼日利亚、越南、印度尼西亚、缅甸、印度,合计占比达58.17%,显示出市场高度集中于亚洲和非洲的主要发展中国家;1000万-5000万美元的市场9个,主要是印度、日本、韩国、墨西哥等,构成了稳定的次级市场,其中既包括新兴经济体,也包括部分发达国家,市场多元化初具雏形;市场规模小于1000万美元的市场超过100个国家和地区,虽然单个体量较小,但总和可观,体现了该产品在全球范围的广泛渗透力。
其中,2025年1-12月对缅甸出口增长38.91%,2025年5月RCEP正式对缅甸生效,缅甸对谷氨酸钠的关税将逐步降低,直接提升了中国谷氨酸钠在缅甸市场的价格竞争力,刺激出口量增长;物流与清关环节的革新大幅降低了中国谷氨酸钠出口缅甸的物流成本和时间成本,提升了贸易流通效率,助力企业扩大出口规模;除此之前,缅甸食品加工业的扩张直接带动了对谷氨酸钠的进口需求,为中国出口提供了广阔市场空间。
具体分国别来看,2025年1-12月,我国谷氨酸钠共出口146个国家和地区,与2024年同期相比增加7个国家和地区。超六成市场出口额同比正增长,前20大出口市场中,出口额同比增幅50%以上的市场2个。
从贸易地区分析来看,亚洲、非洲是我国谷氨酸钠的主要出口地,占出口总量的88.03%。在2025年1-12月对出口的六大洲中,出口欧洲4554万美元,同比增长18.91%;出口北美299万美元,同比增长14.39%;出口额下降的洲有:出口亚洲6.06亿美元,同比下降5.59%;出口非洲1.57亿美元,同比下降19.16%;出口拉美5090万美元,同比下降0.73%;出口大洋洲432万美元,同比下降12%。

从主要出口省市来看,2025年1-12月出口额前五的省市依次为内蒙古、云南、山东、吉林、辽宁,出口额合计占比达到78.57%,紧随其后的安徽、宁夏、黑龙江、江苏、上海,出口额分别为2577万美元、2471万美元、2435万美元、2333万美元、1282万美元。

谷氨酸产业链全球市场分布及特点
产业链情况
上游:原料供应
谷氨酸行业上游主要包括玉米、淀粉等原材料供应商,醋酸、液体石蜡、乙醇、糖蜜等辅助材料供应商,菌种、酶制剂等生物制剂供应商以及生产设备供应商。
代表企业有:ADM、嘉吉、中粮集团、益海嘉里、Cosan、诺维信、DSM、巴斯夫等。
中游:生产制造
中游环节是谷氨酸的生产制造,是产业链的核心环节。
代表企业有:阜丰集团、梅花生物、伊品生物、星湖科技、味之素、希杰集团、赢创工业、巴斯夫、ADM、TCC集团等。
下游:终端应用
谷氨酸下游应用场景广泛,核心分为三大领域:食品调味、饲料添加、医药保健,其余应用于化妆品、工业原料等领域。
全球主要消费市场情况
亚太市场:核心主导市场
亚太地区是谷氨酸钠的全球核心消费市场,其中中国既是最大的生产国,也是最大的消费国之一。其需求主要来自庞大的食品加工行业和餐饮业,东南亚市场(如越南、泰国、印尼)是重要的消费增长区,其中泰国高度依赖进口,中国是其最大供应源。
北美市场:观念分化的成熟稳定市场
美国和加拿大是北美地区的主要消费市场,该市场消费观念分化,“清洁标签”趋势与 “减钠”功能性应用并存。
欧洲市场:高监管与健康导向
欧洲市场对食品添加剂法规严格,消费者阅读食品配料表的习惯普遍,对价格敏感度较低,高端产品溢价明显。消费者强烈偏好天然、有机的调味方案(如酵母提取物),对添加剂警惕性高。
非洲中东市场:新兴潜力市场
非洲、中东是全球谷氨酸钠消费的新兴增长极,当前消费规模较小,但增速极快,市场尚处于培育期,未来增长潜力巨大。随着经济发展、城市化进程加快以及可支配收入增加,对加工食品和包装食品的需求正在上升。
谷氨酸钠企业市场开发建议
根据2025年1-12月谷氨酸钠出口情况来看,泰国、尼日利亚等亚洲、非洲国家是中国谷氨酸钠的主要出口目的地。这些国家对谷氨酸钠的需求与当地的饮食文化和食品加工业发展密切相关,由于本土产能严重不足,对谷氨酸钠的进口依赖度极高。未来,中国谷氨酸钠企业可以进一步深耕这些市场,了解当地市场的需求变化和法规政策,不断优化产品,提高市场份额。同时,也可以借助这些主要出口目的地的辐射作用,开拓周边国家和地区的市场,扩大中国谷氨酸钠在亚洲和非洲市场的影响力。
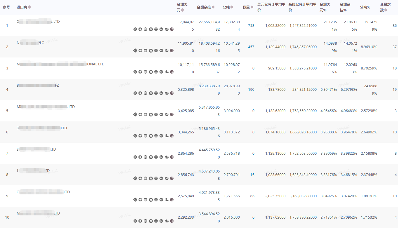
谷氨酸钠企业可重点关注泰国、尼日利亚、缅甸、朝鲜、波兰、西班牙、孟加拉、伊朗、柬埔寨、巴西、塞拉利昂、德国、喀麦隆等市场。以尼日利亚市场为例,通过国贸通大数据人工智能DaaS系统,可以非常直观看到近期尼日利亚从中国进口谷氨酸钠的贸易交易。

根据交易频次、交易金额找到潜在采购商,对该采购商的详细信息,如产品信息、港口信息、量价情况、运输方式,数量、金额、重量等,直接分析其采购习惯。

并对该企业进行追踪分析,对其贸易趋势、背后供应商、同行、进口商RFM等进行分析,全方位了解客户信息。

精准筛选出高潜力客户,找到其联系方式非常重要!通过国贸通大数据外贸搜功能,可一键挖掘采购商的联系方式,如职位、邮箱、电话、LinkedIn、WhatsApp等。

国贸通大数据是一家外贸大数据商务智能DaaS系统和外贸数字化精准营销SaaS平台提供商,覆盖全球230+国家及地区的海关交易数据及统计数据,为企业提供市场分析、买家挖掘、竞争监测、商机洞察等一站式解决方案,帮助企业精准开拓全球市场,降低出海成本,提升贸易成功率。 国贸通确保一手数据源,严格保障数据质量和更新速度,马来西亚等国家数据更新行业领先。公司拥有专业的技术专家团队,在数据处理方面严格把控:有用的数据一条不漏,无用的数据一条不多。从1.0版本到7.0版本,国贸通大数据持续突破技术瓶颈,实现秒级检索,以最新技术引领行业,助力外贸企业在激烈的市场竞争中,始终占据有利地位。
BTD Whatsapp
国贸通公众号
在线咨询
Skype:GlobalTradeData